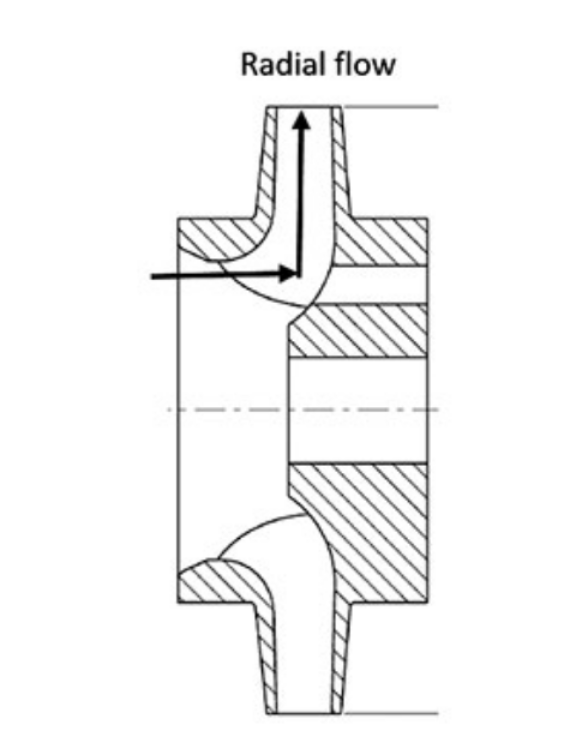
A centrifugal pump is a type of Pump that uses a rotating Impeller to create centrifugal force, accelerating fluid radially outward and converting kinetic energy to pressure energy.

Fluid is drawn in through the ‘eye’ of the pump from the pressure drop caused by the rotation of the impeller blades. The fluid is forced outwards towards the pump housing, where it travels through a diffuser to the outlet.

center|desc Radial Flow through a pump (21)