Aashish Mehta

Home

❯

Research

❯

Concepts

❯

Axial Pump

Axial Pump

29 May 20251 min read

  • engineering

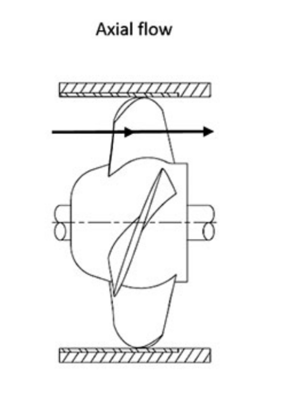
In an axial pump, an impeller draws in and transposes fluid along its axis, usually through a diffuser to and to the outlet

center | desc Axial flow through a pump (21)


Related

  • Centrifugal Pump
  • Mixed Flow Pump
  • Blade Theory

Graph View

Backlinks

  • Centrifugal Pump
  • Mixed Flow Pump
  • Pump
  • Engineering MOC
  • GitHub
  • Main Website